联系人:蔡平
手 机:13815945945
电 话:0523-84323365
传 真:0523-84875122
地 址:江苏省靖江市新桥镇江河路50号
一、产品型号名称

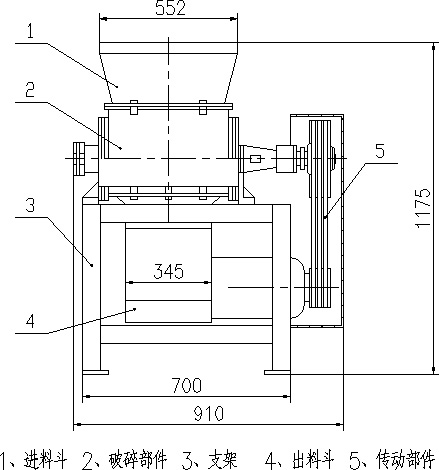
PS-1破碎机结构示意图
三、用途及适用范围该机适用于浆果类果蔬的破碎,同时,也能对经予煮软化过的
仁果类果蔬进行破碎,破碎粒度为5—8mm。
适用范围举例:
浆果类:西红柿、猕猴桃、胡萝卜、桑椹、番木瓜等。
仁果:苹果、梨等。
四、主要技术参数水果处理量:1T/h
配用电机功率:1.5KW
飞刀转速:310r/min
外形尺寸:910×600×1175mm
五、主要结构及工作原理
见破碎机示意图:
该机主要由:进料斗、破碎部件、支架、出料斗、传动部件等
组成,接触物料部件由不锈钢制造。
工作原理:飞刀绕自身轴线在固定不动的底刀间隙内旋转,从而使果蔬破碎,转子上有四组飞刀底刀为一组,视果蔬种类不同,出料斗有斗式和管式两种型式。在进料斗上部加上缓冲装置,可得到粒度更细的物料。
六、安 装破碎机由四只地脚螺栓或四只膨胀螺栓固定。
七、操作与使用
使用前,手工转动转子,确认机内无异物,于两端轴承支座油嘴处加进润滑油,接通电源,使其转动方向和转向牌一致。均匀地加进原料,视破碎程度及出料情况,控制加料速度。 注意事项
1、加料切勿冲击;
2、严禁铁钉,石块等坚硬物混入物料加入机内;
3、交接班、停滞不用期间,需清洗该机,保持机内清洁、保证食品卫生。p;[上一个: 不锈钢齿式破碎机 ]
[下一个: 刀片式破碎机/PS-3破碎机 ]






苏公网安备 32128202000743号